⏪
¿Qué son los servicios auxiliares de una subestación eléctrica?
Los servicios auxiliares (SSAA) son el
conjunto de instalaciones y equipos que sirven para alimentar las cargas de
baja tensión en corriente alterna o corriente continua, necesarias para la
operación de una subestación.
Estos servicios deben garantizar que en
condiciones de falla o mantenimiento existan fuentes de alimentación para las
cargas que se consideran importantes, como son la asociadas a los sistemas de
control, telecontrol y telegestión de protecciones de una subestación, además
de equipos contra incendios, aire comprimido, sistemas de lubricación e
iluminación, bombas, etc.
Debido a esto la confiabilidad de los
servicios auxiliares debe ser mayor a la de la subestación como tal.
Imagen 3: Unidad de Control Remota (RTU)
Permite obtener señales independientes
de los procesos, como por ejemplo la señal de cada uno de los reconectadores de
una subestación a través de un cocido RS 485/232 y enviar la
información a un sitio remoto donde para que esta se procese, como un por
ejemplo un centro de control SCADA.
Imagen 4: Modem de comunicaciones
Imagen 5: Switch
Imagen 6: Medidores calidad de energía
Imagen 7: Reconectador Nulec
Para el diseño del sistema de
servicios auxiliares se deben considerar algunas condiciones relacionadas con la instalación y operación de la subestación como:
- Confiabilidad: Superior a la de la subestación
- Cargas: Se requiere definir antes de dimensionar
el sistema de servicios auxiliares, las cargas y sus consumos, tanto cargas
propias de operación de la subestación como las cargas complementarias que se
requieran en la obra.
- Modularidad: La cual busca facilitar el
crecimiento de la subestación sin requerir el cambio del sistema de servicios
auxiliares.
- Flexibilidad: la cual busca optimizar las facilidades
topológicas de conexión del esquema
- Simplicidad: La cual busca eliminar las
complejidades operativas del esquema.
- Mantenibilidad: La cual pretende garantizar las
facilidades de mantenimiento del esquema sin degradar la confiabilidad y
flexibilidad.
⏩
TENSIONES USUALES DE LOS SERVICIOS AUXILIARES.
La norma IEC 60694 “Common
specifications for high-voltage switchgear and controlgear standards” – Establece
los niveles de tensión para los servicios auxiliares para corriente directa y
continua.
-Tensión
en Corriente continua: 24V, 48V, 60V, 110V o 125V, 220V o 250V. (las más
utilizadas en Colombia son 24V, 48V y 125V). Según la norma IEC 60694 Las
bobinas de apertura de los interruptores deben operar entre el 70% y el 110%.
Tensión (V)
|
24
|
48
|
60
|
110 ó 125
|
220 ó 250
|
-
Tensión en Corriente Alterna: 120/208V, 220/380V, 230/400V, 240/415V, 277/480V, 347/600V, (sistema trifásico tres o cuatro hilos). Según la norma IEC 60694 Las bobinas de apertura de los interruptores deben operar entre el 85% y el 110%.
Tensión en Corriente Alterna: 120/208V, 220/380V, 230/400V, 240/415V, 277/480V, 347/600V, (sistema trifásico tres o cuatro hilos). Según la norma IEC 60694 Las bobinas de apertura de los interruptores deben operar entre el 85% y el 110%.
Sistemas
Trifásicos, 3 hilos o 4 hilos (V)
|
Sistemas
Monofásicos, 3 hilos (V)
|
Sistemas
Monofásicos, 2 hilos (V)
|
-
|
120/240
|
120
|
120/208
|
-
|
120
|
220/380
|
-
|
220
|
230/400
|
-
|
230
|
240/415
|
-
|
240
|
277/480
|
-
|
277
|
347/600
|
-
|
347
|
Adicionalmente, contamos con la
norma ANSI C84.1, la cual sugiere que los valores de tensión en los terminales
de suministro no deben diferir de la tensión asignada en un rango de +5% y
-10%, las variaciones se deben realizar en un límite de +- 5%.
Sistema
Trifásico de 3 ó 4 hilos (V)
|
Sistema
Monofásico de 2 ó 3 hilos (V)
|
-
|
120
|
120/208
|
-
|
-
|
120/240
|
127/220
|
-
|
220
|
-
|
277/480
|
-
|
480
|
-
|
⏫
TIPOS DE CARGA
Las fuentes de
servicios auxiliares alimentan normalmente tres tipos básicos de carga: normal,
de emergencia y crítica.
CARGA NORMAL:
Se refiere a
aquellas que cuando ocurre una falla su funcionamiento se puede suspender sin
generar daños adicionales, por ejemplo el alumbrado y tomas servicio no
esenciales.
Imagen 8: Celdas SSEE
Imagen 9: Patio SSEE
CARGA DE
EMERGENCIA
Se refiere a
aquellas que cuando ocurre una falla pueden generar daños adicionales y pueden
estar un pequeño lapso de tiempo sin servicio. Por ejemplo alarmas,
anunciadores, motores. Servicios de baja tensión de Corriente Alterna (motores)
y Corriente Continua (reles) en subestaciones (auxiliares).
Imagen 10: Cuarto baterias SSEE
Imagen 11: Cuarto baterias SSEE
CARGA CRÍTICA
Su
funcionamiento es igual a la carga de emergencia a diferencia que esta no puede
suspender su operación y/o funcionamiento por ejemplo: cargador de baterías,
equipo de enfriamiento de transformadores, circuitos de alimentación de
interruptores, lámparas externas de emergencia, alumbrado de seguridad,
circuitos de control de los interruptores, circuitos de alarma contra incendio,
equipos de comunicaciones, equipos de control y computo, telemedida,
teleproceso, etc
Imagen 12: Control baterias SSEE
Imagen 13: Patch Panel SSEE
⏪
FUENTES DE
ALIMENTACIÓN DE CORRIENTE ALTERNA
Transformador de auxiliares.
Se conecta a los bornes del barraje principal de la subestación de energía eléctrica (SSEE), al devando terciario de los bancos de transformadores principales, a un a línea de distribución cercara o en el caso de un central generadora directamente a los bornes del generador.
Imagen 14. Transformador SSAA
Líneas de distribución.
En esta conexión los servicios auxiliares se conectan a una linea externa de distribución, dependiente de la SSEE. Esta es una conexión muy común debido a la alta confiabilidad que presenta, ya que si se presenta un falla interna en la SSEE los servicios auxiliares continuarían en servicio.
Turbogenerador de servicio interno.
En el caso de las centrales térmicas se usa este tipo de conexión, tenido como ventaja que si se presenta una falla en el sistema de potencia, los servicios auxiliares no se vería afectados por esta y continuarían con su operación normal. La desventaja de este tipo de conexión son sus elevados costos de mantenimiento y operación
Generador auxiliar.
En las centrales de generación se puede conectar un generador auxiliar el cuales accionado por el generador principal, está conexión puede presentar problemas de acople mecánico entre los generadores y si se presenta una falla en el generador principal los SSAA también entrarían en indisponibilidad.
Planta diésel.
Este tipó de fuente AC es útil para usos continuos pero su consumo de combustible es elevado para un uso continuo y se debe controlar periódicamente su abastecimiento.
Terciario de bancos de transformadores.
Esta fuente AC proviene de una conexión a los devanados de los bancos de transformadores principales.
Imagen 15. Unifilar SSAA
Tomada de: Diseño de subestaciones eléctricas - José Carlos Romero Escobar
Tomada de: Diseño de subestaciones eléctricas - José Carlos Romero Escobar
⏪
Nivel de tensión para la alimentación en los servicios auxiliares en AC
Debido a los diferentes tipos de cargas que se pueden conectar a los SSAA en AC, existen varias configuraciones para los transformadores que se usen para alimentar estas cargas.
Imagen 16. Tensiones típicas SSAA en AC
Tomada de: Diseño de subestaciones eléctricas - José Carlos Romero Escobar
Tomada de: Diseño de subestaciones eléctricas - José Carlos Romero Escobar
Esquema de transferencia o respaldo
Imagen 17. Esquema de transferencia SSAA en AC.
Tomada de: Diseño de subestaciones eléctricas - José Carlos Romero Escobar
Tomada de: Diseño de subestaciones eléctricas - José Carlos Romero Escobar
Imagen 18. Barra SSAA conectada las barras colectoras principales.
Tomada de: Diseño de subestaciones eléctricas - José Carlos Romero Escobar
Tomada de: Diseño de subestaciones eléctricas - José Carlos Romero Escobar
Imagen 19. Barra SSAA conectada a generadores
Tomada de: Diseño de subestaciones eléctricas - José Carlos Romero Escobar.
Tomada de: Diseño de subestaciones eléctricas - José Carlos Romero Escobar.
Imagen 20. Barra SSAA conectada por transformadores a generadores.
Tomada de: Diseño de subestaciones eléctricas - José Carlos Romero Escobar
Tomada de: Diseño de subestaciones eléctricas - José Carlos Romero Escobar
⏪
Equipos para sistemas auxiliares de AC
1. Transformadores
Este tipo de alimentación resulta ser bueno para uso en servicios auxiliares de grandes
subestaciones.
1. Tableros eléctricos
Sirven como puntos de distribución de energía eléctrica para las cargas de la SSEE.
3. Equipo de iluminación.
La iluminación exterior tiene dos
propósitos básicos: seguridad de subestación y seguridad de la operación. Dependiendo
del área, ciertas luminarias pueden usarse durante horas de oscuridad para la
seguridad de la subestación. Estos son controlados
fotoeléctricamente.
4. Calefacción y ventilación
⏩
SISTEMAS AUXILIARES EN CORRIENTE CONTINUA (DC)
La topología establecida para este sistema indica o menciona los siguientes
equipos:
·
Cargador
de baterías
·
Barraje
principal
·
Cargas
DC
·
Banco de
Baterías
·
Convertidor
AC-DC
CONFIGURACIONES DE CORRIENTE CONTINUA:
Un ejemplo de corriente continua
se desarrolla con la tensión de 125 Vcc y 48 Vcc, donde se presentan diferentes
configuraciones, estás se presentan a continuación:
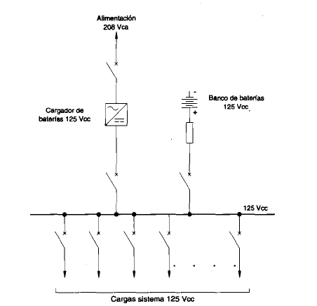
CONFIGURACIONES DE CORRIENTE CONTINUA:
Sistema de control de 125 Vcc
ESQUEMA O DIAGRAMA DE
CONEXIÓN PARA LOS SSAA
UN SOLO CARGADOR DE
BATERÍAS CON UNA BARRA DE DISTRIBUCIÓN
Imagen 23. Sistema de corriente continua con un cargador y banco de baterias
Tomada de: Diseño de subestaciones eléctricas - José Carlos Romero Escobar
Sistema de Corriente Continua con Barraje Seccionado y dos Cargadores
de Baterías.
- Se puede realizar la conexión trifásica (208
Vac) o monofásica (120 Vac)
- Llega a un convertidor AC-DC que es a su vez un
cargador de Baterías conectado a una barraje para la correspondiente
alimentación de cargas en corriente directa.
Un ejemplo de la implementación
de este nivel de tensión se da en la Subestación Nueva Esperanza de 500/230 kV.
De esta manera algunos detalles o especificaciones de la subestación:
Imagen 24. Tensiones nominales
Tomada de: Diseño de subestaciones eléctricas - José Carlos Romero Escobar
Imagen 25. Sistema de Corriente Continua con Barraje Seccionado y dos Cargadores
de Baterías.
Tomada de: Diseño de subestaciones eléctricas - José Carlos Romero Escobar
Tomada de: Diseño de subestaciones eléctricas - José Carlos Romero Escobar
Sistema de Control de 48 Vcc
Este sistema es implementado básicamente para
alimentar aquellas cargas como inversores, equipos de comunicaciones, equipos
de control, etc.
Características de las fuentes de alimentación
Primarias.
Estas alimentan continuamente a las cargas primarias bajo condiciones normales de operación.
Respaldo.
En caso de falla o de mantenimiento de la fuente primaria, esta fuente entra a operar y suplir la alimentación que requieren las caras primarias.
Emergencia.
Funciona como un sistema de alimentación redundante, es cual es muy aconsejable tener en las subestaciones de energía eléctrica.
BATERIAS
Una batería es un dispositivo que
almacena energía eléctrica en forma de energía química al ser cargada, y la
devuelve en forma de energía eléctrica con una tensión continua aproximadamente
constante.
Imagen 26. Banco de baterías
imagen 27. Banco de Baterías
Video 1. Cuarto de baterias
El momento de actuación de este
equipo son durante los siguientes casos:
· La carga del sistema DC excede la máxima salida
del cargador de baterías.
· La salida del cargador de baterías es
interrumpida
· La fuente auxiliar AC queda fuera de servicio (en
este caso, la demanda de potencia DC puede ser mayor que en el caso anterior)
Características de las Baterías
·
Ciclo de trabajo de un banco de baterías
·
Amperios/hora
·
Capacidad
·
Voltaje nominal
·
Voltaje de carga y descarga
·
Voltaje de gasificación
·
Rendimiento y Eficiencia
Una batería es un dispositivo que
almacena energía eléctrica en forma de energía química al ser cargada, y la
devuelve en forma de energía eléctrica con una tensión continua aproximadamente
constante.
Video 1. Cuarto de baterias
El momento de actuación de este equipo son durante los siguientes casos:
Clasificaciones de las Cargas:
· Cargas Continuas:
- Iluminación.
- Motores de
operación permanente
- Inversores o
convertidores estáticos
- Luces de
indicación
- Bobinas que
queden permanecer energizadas (relés)
· Cargas No Continuas:
- Motores de las bombas de emergencias
- Motores del
sistema de ventilación crítico
- Sistema de
protección contra incendios
·
Cargas Momentáneas:
- Operación de
interruptores de potencia
- Operación de
motores de accionamiento de las válvulas
- Operación de
seccionadores de potencia
- Corrientes de
arranque de todos los motores.
⏫
CRITERIOS DE
SELECCIÓN DE FUENTES DE ALIMENTACIÓN.
imagen 28. Patio SSEE
imagen 28. Patio SSEE
Una vez analizadas las posibles configuraciones y esquemas de los
sistemas de los circuitos auxiliares que se emplean, se deberán tener en cuenta
los siguientes criterios para la selección de fuentes de alimentación.
Criterios técnicos
Criterios de confiabilidad
Criterios económicos
1. Criterios Técnicos:
1.1. Transferencia en Condiciones Normales
Para realizar la transferencia en condiciones normales
se debe tener en cuenta:
a.
La transferencia debe de ser
sencilla y segura
b.
Evitar de enlazar fuentes de
alimentación por medio de los servicios auxiliares a excepción del generador de
emergencia.
c.
Tener en cuenta los desfases
entre las dos fuentes involucradas en la transferencia.
1.2. Transferencia a la Fuente de Emergencia
En este caso cuando no se tienen las fuentes normales de
alimentación lo importante es mantener las unidades esenciales en
funcionamiento para preservar la integridad de los equipos y personas la
transferencia se realiza únicamente cuando están fuera de paralelo
desconectando todas las cargas para pasar al arranque automático del equipo
emergente y luego se reconectan las cargas indispensables sin sobrepasar la
capacidad del equipo emergente
1.3. Bloqueo de Transferencias
Esta simplemente se bloquea y deja de funcionar cuando
la posible falla se presenta en las barras donde con ayuda de equipos como son;
relés de sobre corriente o de voltaje secuencia cero pueden detectar estas
anomalías.
1.4. Efectos de la Transferencia
Cuando se presenta una interrupción momentánea en el
fluido eléctrico esto puede generar torques inapropiadas en el eje de los
motores y esfuerzos en los bobinados tanto de motores como de transformadores
debido a las corrientes de arranque. Para evitar esto se requieren tener
tiempos óptimos y que se realice la transferencia sin que se presenten los
esfuerzos ya mencionados.
1.4.1. Efectos de la transferencia
en motores.
Los efectos inadecuados en los motores:
a.
Corrientes anormales de
arranque
b.
Torques elevados en el eje que
dependen de:
·
Magnitud del voltaje residual
del motor.
·
Ángulo de fase entre el voltaje
residual y el de la nueva fuente de suministro.
·
La relación de fase entre el
torque al eje oscilante (que tiende a decaer) y el torque trasiente en el gap (torque
eléctrico).
1.4.2.
Efectos de transferencia en transformadores
Cuando se energiza un transformador surge una corriente de
magnetización que depende del flujo, si se desenergiza el transformador la
corriente de magnetización tiende a cero, pero si se energiza nuevamente no
abra transientes pero si abra un cambio de transiente de magnetización de un
valor apreciable pero esto en la práctica no se puede controlar.
1.4.3.
Tiempo Optimo de Transferencia
Para tener un tiempo óptimo de transferencia se tienen en cuenta dos
criterios:
a.
Para tener los equipos en
funcionamiento es necesario que el tiempo muerto sea mínimo para evitar
transitorios.
b.
Al momento de energizarse
nuevamente el voltaje residual sea mínimo para garantizar que la corriente de
arranque no afecte a los equipos y en los troques a los motores.
2. Criterios de
Confiabilidad
Existen muchos conceptos de
confiabilidad pero tomaremos la siguiente definición de forma textual: “Se
define como la probabilidad de que una subestación puede suministrar energía
durante un periodo de tiempo dado, bajo la condición de que al menos un
componente de la subestación salga de servicio. Es decir, que cuando ocurra una
falla en un elemento de la subestación, se puede continuar con el suministro de
energía después de efectuar una operación interna, mientras se efectúa la
reparación de dichos elemento. Esto es aplicable en el caso de mantenimiento”.
Para determinar la confiabilidad se
deben tener en cuenta los siguientes aspectos:
·
Compararlos con estándares mínimos
previamente establecidos y aceptar o rechazar el dispositivo o sistema.
·
Evaluar y comparar distintas
alternativas.
·
Corrección o refuerzo de las
partes débiles de un sistema.
·
Con juntamente con criterios de
costos y criterios técnicos, analizar la planificación, diseño y operación del sistema.
2.1. EVALUACIÓN DE LA CONFIABILIDAD
Esta se relaciona con la disponibilidad de los equipos
para ofrecer continuidad en los suministro de energía acatando los estándares
de seguridad y calidad.
Para la evaluación de la confiabilidad uno de los
procedimientos más utilizados es el método Montecarlo, por el cual es un método
estadístico para resolver problemas matemáticos complejos mediante la
generación de variables aleatorias. La base de este método es la generación de
números aleatorios de cualquier distribución, que deben cumplir las siguientes
propiedades:
· Uniformidad: pertenecen a una
distribución de probabilidad uniforme definida entre 0 y 1
· Independencia: los números
generados no tienen relación entre sí.
En la simulación de Montecarlo se permite incorporar modelos de
confiabilidad de los elementos del sistema con cualquier número de estados.
Estos modelos se definen por funciones de probabilidad para cada tiempo de
transición entre estados. Sin embargo, en la mayoría de simulaciones reales se
usan modelos de dos estados
3. Criterios Económicos
Van ligados con los criterios de
confiabilidad, del grado de seguridad y continuidad en el servicio. Se puede
decir que a mayor continuidad del servicio implica una mayor inversión y
mayores costos operativos.
Para definir el nivel óptimo de
confiabilidad se requiere determinar el costo de la inversión de las
instalaciones y el impacto económico al presentarse cortes en el servicio.
3.1. Nivel Óptimo de Confiabilidad:
Es aquel que justifica el nivel de canfiabi1idad en base
al análisis costo/beneficio en las instalaciones y del consumidor
3.2 Parámetros de Evaluación Financiera para la Determinación de las
Configuraciones más Adecuadas
·
Inversión requerida.
·
Costo de energía no
suministrada.
·
Costo de mantenimiento de las
fuentes y sistemas de generación.
·
Costos de los insumos para la operación.
DIMENSIONAMIENTO
DE SERVICIOS AUXILIARES
Clasificación de las cargas según su uso:
La transferencia se realiza en el lado secundario para
economía de equipo.
Imagen 29. Clasificación de las cargas según su uso.
Imagen 30. Cargas AC.
Imagen 31. Cargas DC.
Imagen 32. Cargas DC.
⏪
Requerimientos de diseño
1. Carga de demanda
Se deben totalizar los kVA
conectados de todas las cargas de AC y DC de la subestación y aplicar un factor
de demanda a cada uno (NTC2050).
2. Número de alimentadores primarios
En pequeñas subestaciones de distribución, un transformador auxiliar suele
ser suficiente.
Se debe tener redundancia de los servicios auxiliares de la subestación según criterios técnicos y económicos.
3. Entrada aérea o subterranea.
Las fuentes auxiliares pueden ser líneas
de distribución aéreas o subterráneas .
4. Cargas críticas.
Algunas cargas de bajo voltaje deben mantenerse en todo momento:
Cargadores de batería que, a
través de las baterías, suministran disyuntores y circuitos cerrados, así como
circuitos de comunicación.
Transformador de enfriamiento
Compresores y motores de
disyuntores de potencia
Problemas con los receptáculos de
luz en el patio de la estación
Iluminación de seguridad
Circuitos de control de
interruptor
Circuito (s) de alarma contra
incendios
Calefacción eléctrica
Circuitos de automatización de
subestaciones
5. Nivel de voltaje secundario
Varios
niveles secundarios de voltaje o utilización están disponibles para auxiliares
de CA. Para fines de estandarización, en un sistema de energía dado es
mejor que solo se seleccione un nivel. Sin embargo, esta no es una regla
limitante.
Los
posibles niveles de voltaje secundario son los siguientes:
1. 480/240 voltios, Delta trifásico
Imagen 33. Delta trifásico
2. 480/277 voltios, conectado en estrella, trifásico, cuatro hilos
Imagen 34. Yee trifásico
3. 208/120 voltios, conectado en estrella, trifásico, cuatro hilos
Se pueden usar 208 voltios trifásicos o 120 voltios monofásicos o una combinación de los dos para la refrigeración del transformador.
4. 240 voltios, trifásico Delta
5. 240/120 voltios, Delta-Connected, trifásico, cuatro hilos
Imagen 35. Delta trifásico
6. Esquema de transferencia
La transferencia se realiza en el lado secundario para
economía de equipo.
Imagen 38. Transferencia
7. Corrientes de falla del sistema auxiliar
La corriente simétrica de cortocircuito (falla) se calcula
utilizando la Ecuación 1:
I F = kV de
línea a línea / (√3 × resistencia de ohmios)
Video 2. Falla en servicios auxiliares
⏩
Conceptos fundamentales para el dimensionamiento o selección del banco de baterías
-
- La función principal de las baterías es servir como fuente de energía confiable en caso de falla de los servicios
auxiliares o de una falla en la subestación.
Baterías de plomo-ácido:
- Generalmente, se utilizan baterías de plomo –
ácido, debido a que pueden suplir energía eléctrica durante grandes períodos de
tiempo. Y cuyas principales características son:
- Tensión de carga (tensión de Igualación) de los
elementos (celdas): 2.3 V a 2.4 V
- Tensión de mantenimiento (o Flotante) de los
elementos: 2.15 V a 2.25 V
- Tensión mínima de los elementos 1.75 V
- Requieren de un mantenimiento frecuente, se debe
diseñar cuartos con instalaciones eléctricas a prueba de explosiones y
extractores de gases (dampers o extractores)
-
Tipos de celda para baterías de
plomo:
·
Placa plante
·
Placa rubular
·
Placa positiva
- Estos dispositivos se encuentran protegidos a
través de fusibles o interruptores para que no se vean afectados por fallas
como cortocircuitos o descargas rápidas.
- Se recomienda colocar para baterías de 200 A o
más un dispositivo de protección con una capacidad igual a la capacidad de un
minuto de la batería.
Método de cálculo de la capacidad
de una batería de plomo ácido
Para el dimensionamiento de la
capacidad de las baterías se deben considerar, entre otros, los siguientes
aspectos:
· Las características físicas de la celda como son
tamaño, peso, material del contenedor de la celda, tapas de ventilación,
conectores entre celdas y sus terminales.
· La vida útil de la instalación (subestación o
planta de generación) y vida esperada de las celdas.
· Frecuencia y profundidad de descarga de las
celdas
· Requerimientos sísmicos del diseño de las celdas
Número de Celdas
Para determinar la capacidad de la batería, es necesario calcular para cada sección del ciclo de
trabajo, la capacidad máxima requerida por la combinación de las cargas
demandadas (corriente contra tiempo)
Tres factores básicos gobiernan
el dimensionamiento (número de celdas y su capacidad) de las baterías: las
tensión máxima y mínima del sistema y el ciclo de trabajo del banco de
baterías.
Las máximas tensiones permisibles
en el sistema determinan el número de celdas en el banco de baterías
garantizando la tensión permisible de flotación e igualación.
Para el cálculo del número de
celdas se recurre a las siguientes expresiones:
De
esta manera:
Capacidad de la Batería
Imagen 39. Curva baterias
Cargadores de Baterías
Para determinar la corriente
asignada de los cargadores de baterías se considera que, después de una falla
en la alimentación, cada cargador de baterías debe ser capaz de alimentar la
totalidad de los consumidores y de entregar una corriente tal al banco de
baterías, que sea suficiente para recargarlo en un lapso no superior al tiempo
deseado para la recarga.
El siguiente procedimiento es el
más utilizado para calcular la capacidad del cargador y es el que más se ajusta
a las condiciones de operación de los servicios auxiliares de las
subestaciones.
CONSIDERACIONES ADICIONALES PARA EL FUNCIONAMIENTO ADECUADO DE LOS
SERVICIOS AUXILIARES
- El sistema de control de los servicios
auxiliares debe prever el encender semanalmente los grupos electrógenos de la
subestación con el fin de mantenerlos siempre en las condiciones óptimas de
funcionamiento, de forma tal que cuando tomen la carga, no presenten ningún
tipo de problema y den el respaldo que el sistema de servicios auxiliares y la
subestación necesitan.



























1.
ResponderEliminarCUnado la tension tension de alimentacion principal disminuye un 85%.
2.
-El Switc
-El reconectador
-
3.
-Plantas Diesel
-Generador auxiliar conectado al principal
4.
5.
Carga Normal
Carga de emergencia
Carga critica
Cargas continuas
no continuas
Momentaneas
1. Cuando falla la fuente de alimentación principal
ResponderEliminar2.Transformadores, equipo de iluminación y calefacción y/o ventilación
3.Turbogenerador y linea de distribución
5. Cargas: normal, de emergencia y crítica
1 (en caso de falla del interruptor propio del circuito o para mantenimiento de este sin sacar de servicio el circuito
ResponderEliminar2 Interruptor • Seccionador de línea • Seccionador de barra
3 Devanado terciario de transformador de potencia a través de un transformador llamado zig-zag • Transformador de distribución alimentado con un circuito externo a la subestación • Grupo electrógeno (planta diesel)
4 100%
5 cargas distribuidas
1. ¿Cuando se realiza la transferencia?
ResponderEliminarCuando cae la tensión a 85%
2. Mencione 3 equipos conectados al los servicios auxiliares?
Tablero electrico
Equipo de iluminación
Calefacción y ventilación
3. Mencione dos tipos de fuentes AC
Planta diésel
Turbogenerador
. 4. Eficiencia de las baterias en %
5. Cómo se clasifican las cargas
Continuas
No Continuas
Momentáneas
1. ¿Cuando se realiza la transferencia?
ResponderEliminarCuando se presente falla aguas abajo
2. Mencione 3 equipos conectados al los servicios auxiliares?
Alumbrado de la SE, ventilación y cargador de baterías
3. Mencione dos tipos de fuentes AC.
4. Eficiencia de las baterias en %
86%
5. Cómo se clasifican las cargas
Cargas continuas, no continuas y momentáneas.
1. Cuando se presnta ausencia de energia entran a respaldar los bancos de baterias
ResponderEliminar2. Transformadores, equipos de iluminacion y tableros electricos
3. Plomo acido y litio
4.
5. Continuas, no continuas y momentaneas
1. ¿Cuando se realiza la transferencia?
ResponderEliminarSí la tensión disminuye un 85% y cuando entra en falla una Subestación.
2. Mencione 3 equipos conectados al los servicios auxiliares?
Reconectadores
Tableros eléctricos
Telemedida
3. Mencione dos tipos de fuentes AC.
Plantas Diesel.
Generador auxiliar
4. Eficiencia de las baterias en %
Depende de la capacidad de carga y amperios hora que pueda suministrar
5. Cómo se clasifican las cargas
Continuas.
No continuas.
Instantáneas.
1. R/ Cuando falla la red normalde alimentación principal
ResponderEliminar2. R/ Transformadores calefacción y/o ventilación alumbrado
3. R/ Turbogenerador y linea de distribución
4. R/ 50%
5. R/ Continuas, no continuas y momentaneas
1. ¿Cuando se realiza la transferencia?
ResponderEliminarFallas aguas abajo
Maniobras de control
Maniobras de mantenimiento
En caso de Emergencia
2. Mencione 3 equipos conectados al los servicios auxiliares?
Alumbrado de la SE Tomacorrientes
Ventilación
carga de baterías
3. Mencione dos tipos de fuentes AC.
normal, de emergencia y crítica
4. Eficiencia de las baterias en %
86%
5. Cómo se clasifican las cargas
Continuas
No continuas
Momentáneas
1. Cuando cae la tensión a 85%
ResponderEliminar2. Servicioa auxiliares (Calefacción y ventilación),Tablero electrico, Equipos de iluminación
3. Planta diésel, generador aux.
4. Depende de la capacidad de carga y amperios hora que pueda suministrar
5. Momentaneas,Continuas,No Continuas
1. ¿Cuándo se realiza la transferencia?
ResponderEliminarEl momento de actuación de este equipo son durante los siguientes casos:
I. La carga del sistema DC excede la máxima salida del cargador de baterías.
II. La salida del cargador de baterías es interrumpida.
III. La fuente auxiliar AC queda fuera de servicio.
2. Mencione 3 equipos conectados a los servicios auxiliares
I. Alumbrado de la SE
II. Tomacorrientes
III. Sistema de ventilación
3. Mencione dos tipos de fuentes AC.
I. Dos niveles: 120/208V, 220/380V,
II. Dos tipos: Sistema trifásico tres y de cuatro hilos.
4. Eficiencia de las baterías en %
86%
5. Cómo se clasifican las cargas
Normal, de emergencia y crítica.
1. cuando hay una falla o cuando disminulle 85% la tension
ResponderEliminar2.
reconectador
Alumbrado
banco de baterías
3.
normal y generador diesel
4. depende de la capacidad
5. Continuas ,No continuas, Momentáneas
1. cuales son los criterios para la selección de las fuentes de alimentación en los servicio axilares?
ResponderEliminarTensión, corriente, confiabilidad y costos.
2. Para el esquema la transferencia porque se realiza en el dalo secundario?
La tensión es menor
3. Porque se deben prender los grupos electrógenos semanalmente?
Para verificar que funcionen correctamente en caso de necesitarlos
4. cuales son los tipos de celda para baterías de plomo?
Plante, Rubular Positiva
5. Cual es el método mas utilizado en los criterios de confiabilidad?
Criterio N-1
1. ¿Cuáles son los criterios para la selección de las fuentes de alimentación en los servicio axilares?
ResponderEliminarCriterios técnicos, Criterios de confiabilidad y Criterios económicos
2. Para el esquema la transferencia por qué se realiza en el lado secundario?
Por economía.
3. Por qué se deben prender los grupos electrógenos semanalmente?
encender semanalmente los grupos electrógenos de la subestación con el fin de mantenerlos siempre en las condiciones óptimas de funcionamiento, de forma tal que cuando tomen la carga, no presenten ningún tipo de problema y den el respaldo que el sistema de servicios auxiliares y la subestación necesitan.
4. Cuáles son los tipos de celda para baterías de plomo?
Placa plante, Placa rubular y Placa positiva
5. Cual es el método mas utilizado en los criterios de confiabilidad?
n-1
1. cuales son los criterios para la selección de las fuentes de alimentación en los servicio axilares?
ResponderEliminarTécnico, confiabilidad y económico
2. Para el esquema la transferencia porque se realiza en el dalo secundario?
Por economía del equipo
3. Porque se deben prender los grupos electrógenos semanalmente?
4. cuales son los tipos de celda para baterías de plomo?
Plante, rubular y positiva
5. Cual es el método mas utilizado en los criterios de confiabilidad?
Método de montecarlo
1. cuales son los criterios para la selección de las fuentes de alimentación en los servicio axilares?
ResponderEliminarCriterios técnicos
Criterios de confiabilidad
Criterios económicos
2. Para el esquema la transferencia porque se realiza en el dalo secundario?
La transferencia se realiza en el lado secundario para economía de equipo.
3. Porque se deben prender los grupos electrógenos semanalmente?
encender semanalmente los grupos electrógenos de la subestación con el fin de mantenerlos siempre en las condiciones óptimas de funcionamiento, de forma tal que cuando tomen la carga, no presenten ningún tipo de problema y den el respaldo que el sistema de servicios auxiliares y la subestación necesitan.
4. cuales son los tipos de celda para baterías de plomo?
Placa plante
· Placa rubular
· Placa positiva
5. Cual es el método mas utilizado en los criterios de confiabilidad?
n-1
1. Cuáles son los criterios para la selección de las fuentes de alimentación en los servicios axilares?
ResponderEliminarCriterios técnicos, de confiabilidad y económicos.
2. Para el esquema la transferencia por qué se realiza en el lado secundario?
Para economía del equipo.
3. Por qué se deben prender los grupos electrógenos semanalmente?
Para mantenerlos activos en condiciones óptimas de funcionamiento.
4. Cuáles son los tipos de celda para baterías de plomo?
Placa plante, placa tubular y placa positiva.
5. Cuál es el método más utilizado en los criterios de confiabilidad?
n-1
1. Criterios técnicos, criterios de confiabilidad y criterios económicos.
ResponderEliminar2. Por economía del equipo.
3. Para mantener a estos, en condiciones óptimas de funcionamiento de manera que al brindar suministro a la carga no presenten problemas y den respaldo necesario al sistema de servicios auxiliares.
4. Placa plante, placa tubular y placa positiva.
5. Método Montecarlo
1. cuales son los criterios para la selección de las fuentes de alimentación en los servicio axilares?
ResponderEliminarCriterios técnicos
Criterios de confiabilidad
Criterios económicos
2. Para el esquema la transferencia porque se realiza en el dalo secundario?
Porque es donde se encuentran conectadas las cargas.
3. Porque se deben prender los grupos electrógenos semanalmente?
Mantenerlos siempre en las condiciones óptimas de funcionamiento, de forma tal que cuando tomen la carga, no presenten ningún tipo de problema y den el respaldo que el sistema de servicios auxiliares y la subestación necesitan.
4. cuales son los tipos de celda para baterías de plomo?
Placa plante, Placa tubular, Placa positiva
5. Cual es el método mas utilizado en los criterios de confiabilidad?
Transferencia a la fuente de energía.